文库 安全生产/应急管理 制度及规程 管理制度

【闭环管理07】安全隐患闭环管理规定(5页).docx

DOCX   5页   下载24   2024-05-21   浏览16109   收藏13   点赞59   评分-   2254字   50积分
【闭环管理07】安全隐患闭环管理规定(5页).docx 第1页
【闭环管理07】安全隐患闭环管理规定(5页).docx 第2页
【闭环管理07】安全隐患闭环管理规定(5页).docx 第3页
【闭环管理07】安全隐患闭环管理规定(5页).docx 第4页
【闭环管理07】安全隐患闭环管理规定(5页).docx 第5页
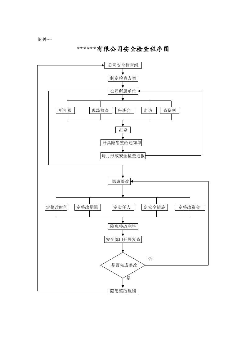
****** 实业有限公司 关于印发安全隐患闭环管理规定的通知 公司所属各单位 为切实做好安全隐患排查、整改工作, 推行 安全隐患闭环管理 ,切实做到 隐患整改程序规范化,闭合化, 及时 有效消除各类安全隐患,预防生产安全事故的发生 , 经研究制定了公司 安全隐患闭环管理 制度,现印发给你们,请根据要求遵照执行,并抓好贯彻落实。 一、管理规定 (一)严格检查标准,强化提高隐患排查能力。制定安全检查标准是开展安全检查活动查什么、做什么的主要依据,是提高各级安全生产管理人员现场检查发现问题、解决问题能力的有效途径,公司生产、安全、机电等部门将结合生产矿井实际进一步修订顶板、“一通三防”、机电提升运输、防治水、火工品管理等专业检查标准,届时另文下发。非煤单位安全检查标准执行已印发的安全检查表内容。矿井每旬两次和非煤单位每月一次安全检查应严格按照检查标准和检查程序图(附件一)的要求开展检查活动。 (二)制定检查方案,规范开展安全检查活动。各单位开展安全检查活动前应预先制定周密检查方案,明确人员安排、检查路线、检查方式方法、检查内容和重点等,检查范围应包括本单位安全生产各环节,特别是重点部位、薄弱点位应加强检查,做到检查覆盖率达到100%。各单位开展检查活动时应尽可能安排分管技术员、分片包保人员互相检查、交叉检查,尽量避免本人分管本人检查的现象,综合提高本单位安全检查质量和效果。 (三)分级筛选隐患,认真执行排查治理办法。一是 安全检查排查出的问题或隐患,要严格按照《 关于规范煤矿生产安全隐患排查、报告和治理制度(试行)的通知》( 天能安字〔2007〕150号 )文件执行, 本着 “ 快速、安全、优质、高效 ”和 一般隐患不过 班 ,较大隐患不过 夜 ,重大隐患 停产整改的原则,分门别类开出隐患整改通知单,责令部门或区队 落实隐患整改工作 ,确因客观因素在期限内整改不了的隐患,要说明情况并采取相关防范措施。对存在较大生产安全问题的采掘工作面、施工和经营场所,要坚决停产、停工、停业整顿, 把隐患消灭在萌芽状态 。二是要继续 强化矿井采掘工作面动态管理制度,执行“四类面” (特殊 面、 探放 水面、边远面、 困 难面 ) 分类监管 和较大隐患汇总制度,做到 矿井值班领导每天筛选,及时 建立 或 撤 消 “四类面”,及时登记隐患汇总表 。 (四)落实五定原则,及时整治现场终端隐患。一是安全检查出的当场解决不了隐患应 严格按照“五定”原则(定项目方案、定整改措施、定整改期限、定整改责任人、定整改资金)进行整改, 落实安全隐患整改过程的监控。二是 各单位应以每次安全检查为单元,建立安全隐患管理台帐进行规范管理,明确检查时间、检查地点、隐患内容、整改责任人、整改期限、复查情况、复查时间和复查人等内容,并及时规范填写。三是生产矿井每5天开展安全检查出的问题要进行专题汇总、归纳分析,找出重点隐患和主要问题,查摆原因,采取对策,及时进行整改,同时要举一反三,避免同类隐患频繁出现,杜绝前整后乱的现象。 (五)建立复查机制,有效实现隐患闭环管理。一是 各单位要 严格 执行 安全隐患整改 复查反馈机制,隐患整改复查反馈是隐患整改效果的评价依据,各项安全检查出的隐患均应有规范的复查反馈内容,应包括复查反馈责任人、时间、地点、隐患整改情况和效果评价等要素。二是公司安全检查出的隐患执行单位整改复查、救护队现场复查验收、公司安委办重点复查三级复查验收机制,未按要求整改的按“三违”标准加倍处罚,对于整改效果差的要重新进行整改,直到符合标准要求,最终实现隐患管理的闭环。 二、考核办法和要求 (一)各单位安全隐患闭环管理情况 由公司安委办组织生产、安全、人力、工会等部门组成考核组, 实行每 季度考核通报,与公司季度主题活动或者安全抵押制度考核工作相挂钩。同时结合公司每旬安全检查、非煤检查、阶段性大检查和上级主管部门督查进行 安全隐患闭环管理日常 考核工作。 (二)各单位要进一步认真开展安全检查活动,确保检查不流于形式。每次开展安全检查无检查安排计划表的扣单位0.1分/次, 未进行隐患汇总分类分级、未开具 安全检查隐患整改通知单 或 隐患整改通知单闭环管理内容不全 扣单位0.1分/次,安全 检查覆盖率达不到100%扣单位0.2分/次。 (三)各单位要进一步强化隐患治理力度,确保隐患消灭在源头。该建立未及时建立 “四类面”管理的扣单位0.5分/个, 台帐 建立 或 撤 消不规范,不能真实反映动态监管情况扣单位0.1分/处; 较大隐患汇总表未及时填写或内容不全的 扣单位0.1分/条, 各单位对隐患排查不全面、不及时采取有效措施治理隐患的 扣单位0.5分/处。 (四)各单位要进一步落实复查验收机制,确保隐患整改实现闭环。对未开展隐患整改复查反馈制度的扣单位0.5分/次,对较大安全隐患无正当理由未及时整改的扣0.5分/条。 三、本规定自2012年4月1日起执行 附件: ****** 有限公司安全检查程序图 二O一二年三月三十日 抄送:集团公司,公司领导、安全专员,机关相关部室。 ****** 公司办公室 2012年3月30日印发 附件一 ****** 有限公司安全检查程序图 公司安全检查组 制定检查方案 公司所属单位 听汇报 现场检查 座谈会 走访 查资料 汇总 开具隐患整改通知单 每月形成安全检查通报 隐患整改 定整改时间 定整改期限 定责任人 定安全措施 定整改资金 隐患整改完毕 安全部门开展复查 否 是否完成整改 是 隐患整改反馈
【闭环管理07】安全隐患闭环管理规定(5页).docx
下载提示

欢迎注册登陆领取积分/会员免费下载--获取途径:

1.上传文档获得2积分      2.签到获取。  3.个人中心获取邀请链接邀请好友获取积分   4.参加首页活动免费获取7天/90天会员

AI助手联系客服